یکی از نکات مثبت اپل واچ های مجهز به شبکه LTE، عدم وابستگی آنها به گوشیهای هوشمند است. در حال حاضر با استفاده از نسل چهارم اپل واچ میتوان تماس صوتی برقرار کرد؛ اما به نظر میرسد که اپل قصد دارد تا کارایی این ساعتها را افزایش دهد و نسل بعدی اپل واچ را به دوبین مجهز کند.
این روزها شاهد پیشرفتهای چشمگیری در صنعت تولید گجتهای هوشمند به خصوص ساعتهای هوشمند هستیم. ساعتهای هوشمند فعلی تفاوت بسیار زیادی از نظر طول عمر باتری و کارایی نسبت به نسلهای قبل خود دارند؛ تا جایی که شما میتوانید از نسخه LTE اپل واچ 4 تا حدی به عنوان یک محصول مستقل استفاده کنید و برای داشتن عملکرد کامل نیازی به گوشی آیفون نخواهید داشت.
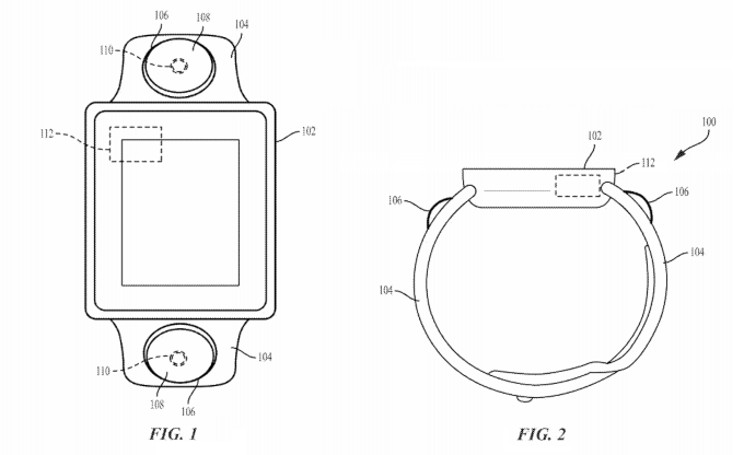
اخیراً پتنت جدیدی توسط اپل در دفتر ثبت اختراع و علامت تجاری ایالات متحده به ثبت رسیده که به وجود دوربین در ساعت هوشمند اپل واچ اشاره دارد. به نظر میرسد که اپل قصد دارد تا ساعت هوشمند خود را تبدیل به یک محصول کاملا مستقل کند؛ اما قرار دادن دوربین در ساعت هوشمند، چالشهای بسیاری را پیش روی اپل قرار میدهد و انجام این کار چندان ساده به نظر نمیرسد. بر اساس تصاویر منتشر شده از پتنت مورد نظر، اپل یک لنز زاویه دید عریض را به همراه یک سنسور بر روی بند نگه دارنده ساعت قرار داده است.

اپل برای در این پتنت با استفاده از دو دوربین اشاره دارد؛ این دو دوربین میتوانند به طور هم زمان تصاویر را ثبت کرده و برای تشکیل یک تصویر کامل آنها را با هم ادغام کنند. به احتمال بسیار زیاد استفاده از دو دوربین میتواند تا حد زیادی مشکل محدودیت زاویه دید را حل کند؛ با استفاده از این ترفند کاربر به راحتی میتواند عکس خود را ثبت کند دیگر نیاز به نگه داشتن سر در حالتهای عجیب و خسته کننده نیست. در این پتنت به دوربینهایی با لنزهای زوم، فوکوس، ماکرو، چشم ماهی و stereoscopic اشاره دارد.

اپل با اضافه کردن دوربین به نسل بعد اپل واچ قصد دارد تا امکان استفاده از FaceTime، قابلیت امنیتی Face ID و ثبت تصاویر و ویدئوهای مختلف را برای این محصول فراهم کند. البته امکان این وجود دارد که این پتنت مانند بسیاری از پتنتهای دیگر در حد یک طرح مفهومی باقی بماند و به مرحله تولید انبوه نرسد. اما این طرح میتواند انقلابی در صنعت ساخت ساعتهای هوشمند مستقل باشد.













نظر خود را اضافه کنید.
برای ارسال نظر وارد شوید
ارسال نظر بدون عضویت در سایت