دکمه Home آیفون در طول زمان پیشرفت های زیادی کرده است. از عملکرد ساده برگشتن به صفحه خانه و یا روشن کردن صفحه نمایش گوشی تا اکنون که این دکمه به وسیله Touch ID می تواند اثر انگشت کاربر را بخواند. اما اپل برای این دکمه فیزیکی برنامه های بیشتری در سر دارد و عملکردهای جالبی در انتظارش است. با ما همراه باشید.

پتنت جدیدی توسط اپل ثبت شده است که " ورودی حسگر اثرانگشت با قابلیت حساسیت به نیرو" نام دارد، می تواند قابلیت های لمسی شبه سه بعدی را به ارمغان بیاورد.
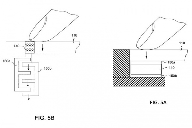
توضیحات این پتنت بسیار طولانی و پیچیده است، اما به طور خلاصه، اپل پیشنهاد قرار دادن الکترودهایی شامل صفحاتی، زیر دکمه Home را داده است. این الکترودها می توانند میزان نیروی وارده بر دکمه Home را بر اساس در هم آمیختگی الکترودها اندازه گیری کنند. در تصاویر زیر، 140 عنصر مقاومتی است، در حالی که 150a و 150b، الکترودها هستند.
این عملکرد می تواند شبیه 3D Touch باشد که در آیفون 6S و 6S Plus وجود دارد و کنترل بیشتری برای کاربر فراهم می کند. در حال حاضر 3D Touch تنها برای صفحات لمسی به کار رفته است و نه برای دکمه Home.

اضافه کردن چنین عملکردی برای دکمه Home در ابتدا چیز زیادی به نظر نمی رسد، اما اپل برنامه های زیادی برای آن دارد. یکی از مثال هایی که در توضیحات پتنت آورده شده است، عکس العمل های مختلف به میزان نیروهای مختلف وارد شده است. به عنوان مثال، وقتی کاربر می خواهد صفحه را روشن کند، فشار کمتر می تواند صفحه خانه را نمایش دهد در حالی که با فشار بیشتر کاربر می تواند به اپلیکیشنی خاص دسترسی یابد.
مثال دوم جالب تر است. بر اساس میزان نیروی وارده بر دکمه Home، عملکردهه و تأثیرات مختلفی ممکن است پیش آید. این می تواند برای عملکردهای جالب در بازی ها نقش مهمی را ایفا کند.
همچنین قابل ذکر است که بر اساس توضیحات پتنت، این عملکرد می تواند به جز آیفون و آیپد در دستگاه های دیگر نیز به کار برده شود. کلیدهای یک کیبورد، سطح یک ماوس، دسته های بازی، قلم های مخصوص گوشی ها و بسیاری المان های دیگر، میتوانند جایگاه این پتنت باشند.
امیدواریم کوپرتینویی ها بتوانند این پتنت را به ثمر بنشانند تا شاهد حضور این فناوری جالب در زندگی خود باشیم.
منبع: DigitalTrends













نظر خود را اضافه کنید.
برای ارسال نظر وارد شوید
ارسال نظر بدون عضویت در سایت