یک پتنت تازه فاششده نشان میدهد اپل احتمالاً روی قاب ویژهای برای آیفون و آیپد کار میکند که میتواند کیفیت ارتباط ماهوارهای را به شکل محسوسی افزایش دهد. این قاب دارای آنتنهای اختصاصی و طراحی تاشو برای اتصال بهتر به ماهوارهها است.
اپل در سال ۲۰۲۴ درخواست ثبت اختراعی با عنوان قاب مجهز به قابلیت ارتباط ماهوارهای ثبت کرده که حالا جزئیات آن منتشر شده است. ایده اصلی ساده اما کاربردی به نظر میرسد؛ یک قاب جداشدنی که به آنتنهای پیشرفتهتر مجهز است و میتواند سیگنال ماهوارهای قویتری نسبت به آنتن داخلی دستگاه فراهم کند.
بهبود سیگنال ماهوارهای آیفون با قاب مخصوص
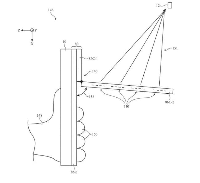
طبق اطلاعات موجود در پتنت، این قاب دارای بخشی تاشو است که کاربر میتواند آن را باز کرده و به سمت آسمان قرار دهد. درون این بخش یک آرایه آنتن فازی تعبیه شده که برای دریافت بهتر سیگنال طراحی شده است. این ساختار دو مزیت مهم دارد؛ اول اینکه زاویهگیری مستقیم به سمت ماهواره را ممکن میکند و دوم اینکه دست کاربر مانع دریافت سیگنال نمیشود، چون بخش آنتن در قسمت جداگانهای قرار دارد.

بر اساس توضیحات اپل، قاب موردنظر میتواند به گروهی از ماهوارهها متصل شود و از طریق کانکتور یا حتی فناوریهایی مانند NFC با دستگاه اصلی تبادل داده داشته باشد. این یعنی قاب به سادگی نصب و جدا میشود و دردسر چندانی نخواهد داشت.
فراموش نکنید ثبت پتنت الزاماً به معنی عرضه محصول نیست. شرکتهایی مانند اپل سالانه دهها ایده مفهومی را ثبت میکنند که بسیاری از آنها هرگز به مرحله تولید نمیرسند. بنابراین فعلاً این قاب ماهوارهای در حد ایده به نظر میرسد.













نظر خود را اضافه کنید.
برای ارسال نظر وارد شوید
ارسال نظر بدون عضویت در سایت