با اینکه گوشی های iPhone همین حالا هم از امنیت بالایی برخوردار هستند اما شرکت اپل با بکارگیری فناوری خاصی به نام "تشخیص الگوی رفتاری" تصمیم دارد این تلفن هوشمند را باز هم در مقابل سرقت و یا دستکاری کاربران ناوارد و ناشناس امن تر کند. این فناوری که به نام شرکت اپل به ثبت رسیده است درنسخه های آینده iOS پیاده سازی خواهد شد.

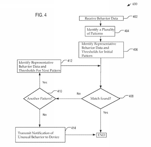
این فناوری ویژگی هایی دارد که بسیار جالب توجه است. سیستم امنیتی جدید به گونه ای طراحی شده است که از زمانی صاحب گوشی شروع به کار با آن مینماید، سیستم شروع به ضبط الگوی حرکتی کاربر مینماید مثلاً چه برنامه هایی و بیشتر در چه ساعاتی از روز اجرا میشوند و یا کدام دکمه ها بیشتر لمس میشوند. حال اگر شخص ناشناسی قصد سوء استفاده از تلفن همراه را داشته باشد و یا توسط کودکان دستکاری شود، سیستم امنیتی با تشخیص تفاوت در نحوه عملکرد ناشناس، میتواند از راههای مختلف، ادامه فعالیت کاربر را از طریق قفل کردن صفحه نمایش و درخواست رمز عبور و یا از طریق ویژگی Touch ID محدود نماید و حتی پیغامی به یک دستگاه از پیش تعیین شده ارسال نماید تا صاحب iPhone از دسترسی افراد ناشناس به آن اطلاع پیدا کند.
کاربرد دیگری که این فناوری ارائه میدهد برای سالمندان مفید خواهد بود بدین ترتیب که اگر سیستم امنیتی در نحوه تعامل با نقاط حساس صفحه، سرعت بیش از اندازه پایین و یا کم دقتی مانند لرزش انگشت در هنگام لمس منوها و غیره مشاهده کند میتواند به فرد درباره مشکلت حسی، عصبی، بینایی و غیره هشدار دهد.

این فناوری یک پروفایل از الگوی رفتاری صاحب تلفن ضبط و ذخیره خواهد کرد. این الگوها شامل نحوه لمس منوها، سرعت و دقت انگشتان کاربر در زمان کار، زمان استفاده از برنامه ها، مدت زمان استفاده از گوشی در ساعات مختلف روز، محلهایی که صاحب تلفن بیشتر در آنجا حضور دارد و مدت زمان حضور در آن محلها، سروسیهای اینترنتی که صاحب تلفن بیشتر با آنها کار میکند مانند چت و سرویس های ایمیل و اشتراک فابل، شماره تلفن و مشخصات دوستانی که صاحب تلفن بیشتر با آنها در تماس بوده است، زمان و نحوه استفاده از شبکه های محلی و Wi-Fi و تجهیزاتی که به گوشی بیشتر متصل میشود، ایرادات دستوری و تایپی که کاربر در زمان ارسال SMS بیشتر مرتکب آنها میشود و حتی شدت نور محیط کار و یا زندگی کاربر و میزان سر و صدای اطراف و دمای محیط را خواهند بود.
زمانی که این پروفایل کامل شد سیستم امنیتی iPhone ممکن است بنابر تنظیمات داخلی خود، با استفاده از یک یا چند تا از این مولفه ها، رفتار عمومی صاحب تلفن را تعیین و در صورت مشاهده هر گونه تفاوتی در آنها، با روشهای مختلف از ادامه کار با گوشی جلوگیری و یا با ارسال اخطار مناسب، صاحب تلفن را از آن مطلع خواهد کرد.
این اولین نوآوری Apple در زمینه تشخیص الگوی رفتاری کاربران iPhone نیست. ویژگی های ابتکاری دیگری نظیر تنظیم میزان مصرف باطری از طریق الگوی کاری صاحب تلفن و همچنین تماس اتوماتیک با پلیس و یا مراکز پزشکی در زمان وقوع مسائل اورژانسی برای کاربر از دیگر نوآوری هایی هستند که قبلاً به نام اپل به ثبت رسیده اند.

هنوز معلوم نیست شرکت اپل چه زمانی از این ویژگی های امنیتی در محصولات خود استفاده خواهد کرد. در حال حاضر Apple مشغول تکمیل این فناوری هاست و تصمیم دارد در آینده نزدیک، نمونه های تجاری آن را رونمایی کند. یکی از مشکلاتی که اپل با آن روبروست مسئله حریم خصوصی کاربران است. با این ویژگیهایی که در فناوریهای جدید Apple دیده میشود مقدار زیادی از اطلاعات خصوصی کاربران باید جمع آوری و در iPhone ذخیره شود تا سیستم امنیتی بتواند کار خود را بدرستی انجام دهد.
اگر اپل بتواند با مسائل حقوقی قضیه کنار بیاید میتوان گفت iPhone های آینده از امن ترین تلفن های هوشمند در مقابل سرقت و یا دسترسی افراد ناشناس خواهند بود.
منبع: bgr.com













نظر خود را اضافه کنید.
برای ارسال نظر وارد شوید
ارسال نظر بدون عضویت در سایت