تا پیش از سال 2019 سامسونگ دو سری متفاوت از پرچمداران خود را با نام Galaxy S و Galaxy Note تولید میکرد، اما با عرضه گوشی تاشو گلکسی فولد، پرچمداران سامسونگ به سه خانواده تقسیم شدند. حال به تازگی پتنت جدیدی توسط سامسونگ برای گوشیهای تاشو به ثبت رسیده است که احتمال ادغام سری نوت و فولد را مطرح میکند.
یکی از تفاوتهای اصلی سری اول پرچمداران گلکسی اس و گلکسی نوت در ابعاد صفحه نمایش آنها بود، اما با گذشت زمان شاهد افزایش ابعاد صفحه نمایش سری گلکسی اس و عرضه نسخه پلاس با صفحه نمایش بزرگتر بودیم. به طور مثال، پرچمدار گلکسی اس 10 به صفحه نمایش 6.1 اینچی و پرچمدار گلکسی نوت 10 به صفحه نمایش 6.3 اینچی مجهز شده است.
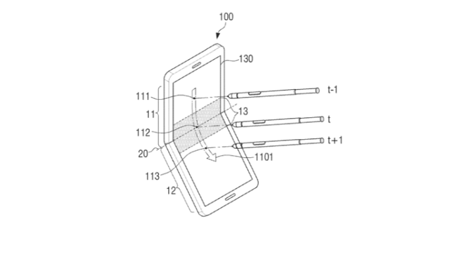
در حال حاضر تنها تفاوت اصلی میان این دو سری، پشتیبانی پرچمداران گلکسی نوت از قلم هوشمند S Pen است. حال به تازگی پتنت جدیدی از سامسونگ به ثبت رسیده است که در آن شاهد ساخت نسخه جدید گوشی تاشو این شرکت هستیم، اما بر خلاف گلکسی فولد، این محصول از قلم هوشمند S Pen نیز پشتیبانی میکند و از ژستهای حرکتی هوایی پشتیبانی میکند.

همانطور که گفتیم تنها تفاوت میان پرچمداران گلکسی اس و گلکسی نوت در قابلیت استفاده از قلم هوشمند S Pen است؛ حال این پتنت جدید تئوری ادغام پرچمداران سری گلکسی فولد و نوت را مطرح میکند. طرحی نسخه جدید گلکسی فولد که در پپتنت رسمی سامسونگ منتشر شده است، تفاوت چندانی با نسخه فعلی ندارد. به نظر میرسد که سامسونگ به دنبال تولید فبلت - اسمارت فون هیبریدی است.
البته برخی از تحلیلگران با این نظریه مخالف هستند و معتقدند که سامسونگ با انجام این کار قصد دارد تا قابلیتهای بیشتری را به گوشی تاشو خود اضافه کند و خبری از ادغام دو سری گلکسی نوت و فولد نیست. همچنین بر اساس اطلاعات ثبت شده در پتنت جدید سامسونگ، لولا این گوشی تاشو تا 270 درجه باز میشود، در صورتی که میزا گشودگی لولا گلکسی فولد به 180 درجه محدود شده بود.

یکی از نکات جالب این گوشی تاشو هوشمند، امکان استفاده از صفحه نمایش بدون برقراری تماس انگشتان دست و قلم هوشمند با صفحه نمایش است. به طور مثال کاربر میتواند برای جابجایی آیکون برنامهها بر روی صفحه نمایش، ابتدا آن را انتخاب کنید و سپس با استفاده از قلم هوشمند S Pen با فاصله از صفحه نمایش و بر روی هوا ( بدون تماس مستقیم) جا به جا کند.













نظر خود را اضافه کنید.
برای ارسال نظر وارد شوید
ارسال نظر بدون عضویت در سایت