ترکیب هستههای کوچک و بزرگ در یک پردازنده، با هدف ارائه شیوههایی نوین از سیستمهای پردازشی، به تازگی توسط Intel پیگیری شده و نخستین پردازندههای آن نیز قلب تپنده نوت بوک های کم مصرف، از جمله گلکسی بوک هستند. اینک AMD نیز به دنبال این شیوه، یک راه حل متشکل از چند هسته متفاوت در یک پردازنده را به ثبت رسانده است که نشانه ورود به مسیر پردازندههای هیبریدی است.
پس از اینتل، اینک نوبت به ایام دی رسیده است تا گام در مسیر رقیب دیرینه خود بگذارد. نه اینتل و نه ایام دی، هیچ یک نخستین سازنده پردازندههای هیبریدی نیستند. این معماری برای اولین بار توسط شرکت ARM پایه گذاری شده است که آن را با نام big.LITTLE میشناسیم. چندی پیش، اینتل نخستین پردازندههای هیبریدی خود را معرفی کرده و در نظر دارد تا این شیوه تولید را در سال 2021 به پردازندههای دسکتاپ بیاورد.
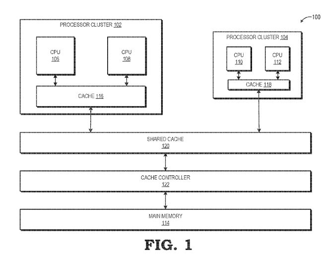
به گفته منابع معتبر افشا کننده پتنت های ثبت شده، شرکت AMD به تازگی یک پتنت تجاری را با مضمون تمرکز ویژه بر روی سرعت انتقال رشتههای پردازشی، بین هستههای بزرگ و کوچک، در معماریهای هیبریدی یا همان big.LITTLE به ثبت رسانده است. می دانیم که در این معماری هستههای بزرگ با قدرت و توان پردازشی بالاتر، در کنار هستههای کوچک با توان پردازشی کمتر قرار میگیرند.

این اختراع که در ژوئیه گذشته در ایالات متحده آمریکا به صورت رسمی به ثبت رسیده است، نوعی معماری ترکیبی برای پردازندهها است. Lower-Feature Second Processor اشاره به استفاده از هستههای دوم، با قدرت و توان مصرفی دارد. این عبارت مشابه توضیحاتی است که ARM در زمینه معماریهای big.LITTLE خود داده است. big.LITTLE در ARM شامل استفاده از هستههایی متفاوت در مدلهای محاسباتی ترکیبی است. این مفهوم دقیقاً مشابه با طرح ثبت شده از سوی AMD است.
این طرح اساساً شامل هستههای ترکیبی بزرگ و کوچک است که حافظه نهان L2 در آنها به صورت مشترک مورد استفاده قرار میگیرد؛ با این وجود هر هسته از حافظههای L1 اختصاصی خود استفاده خواهند کرد. در پتنت AMD، پردازنده به صورت مستقل بارهای پردازشی متفاوت را به هستههای مناسب انتقال خواهد داد. افزون بر آن، رشتهها نیز با توجه به نیاز و نوع پردازش، در بین هستهها جا به جا خواهند شد. به زبان سادهتر، در این معماری AMD حق مدیریت هستهها و سیستم پردازشی را از سیستم عامل (OS) گرفته و به پردازنده منتقل میکند.
در حال حاضر مشخص نشده است که این طرح و پتنت در چه زمینهای مورد استفاده قرار خواهد گرفت؛ پردازندههای لپ تاپ، دسکتاپ و یا سرور. از سوی دیگر، می دانیم که ثبت رسمی یک پتنت به منزله تولید حتمی آن نخواهد بود. با این وجود روشن است که AMD نیز به مانند Intel و ARM در پی استفاده از هستههای ترکیبی است.













نظر خود را اضافه کنید.
برای ارسال نظر وارد شوید
ارسال نظر بدون عضویت در سایت