حلقههای هوشمند یکی از جدیدترین ترندهای دنیای فناوری هستند و سامسونگ با معرفی Galaxy Ring توانست خودش را به عنوان قدرتمندترین رقیب در این میدان معرفی کند. با این حال، به نظر میرسد که اپل نیز به این حوزه وارد شده و قصد توسعه یک گجت پوشیدنی بسیار متفاوت و قدرتمند در این فضا را دارد. این حلقه هوشمند اپل علاوه بر قابلیتهای ردیابی سلامتی، میتواند تمام دستگاههای اطراف کاربر را کنترل کرده و به عنوان یک دستیار هوشمند نیز عمل کند.
دستگاه کوچکی را بر روی انگشت خود تصور کنید که میتوانید به واسطه آن همهچیز را از گوشی آیفون گرفته تا لوازم خانه را به راحتی کنترل کنید.

این ایده جذاب و جاهطلبانه در واقع جدیدترین تحقیقات اپل در حوزه حلقه هوشمند است و گزارش شده که این غول دنیای فناوری اوایل سال جاری کار روی آن را آغاز کرده است.
در همین رابطه بخوانید:
- گلکسی رینگ معرفی شد؛ اولین حلقه هوشمند سامسونگ برای پایش واقعی سلامت!
- خبر بد برای طرفداران اپل: منتظر حلقه هوشمند Apple Ring نباشید!
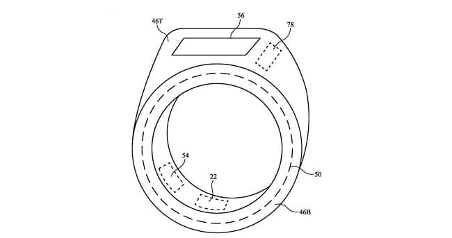
تازهترین حق ثبت اختراعی که اپل درخواست آن را ارائه کرده است، به یک حلقه هوشمند بسیار پیشرفته اشاره دارد که میتواند تمام دستگاههای کاربر را کنترل کند. این گجت کوچک میتواند آیفون، مک، هوم پاد، اپل تیوی و حتی لوازم خانگی را کنترل کند.

حله هوشمند اپل چگونه کار میکند؟
اما چنین محصولی چگونه کار میکند؟ پتنت اپل یک حلقه هوشمند مجهز به حسگرهای مختلف را توصیف میکند که سنسورهای مختلفی همچون سنسور نیرو، حسگرهای مجاورت و حتی میکروفن را به همراه دارد. این حسگرها به حلقه اجازه میدهند تا حرکات و دستورات شما را تشخیص دهد. به عنوان مثال، کاربر میتواند با اشاره به تلویزیون یا گفتن کلمه از پیش تعریف شده، آن را خاموش کند.

البته این گجت پوشیدنی بیشتر از یک کنترل از راه دور خواهد بود و مزیت بزرگ دیگر آن امکانات ردیابی سلامت کاربر است. به عنوان مثال، توضیح داده شده که این حلقه هوشمند میتواند ضربان قلب، تعداد گامها و الگوی خواب را ردیابی کرده و در مرحله بعد اطلاعات مرتبط را در گوشی آیفون یا سایر محصولات اپل آپلود میکند.
به گزارش phonearena، اپل همچنین این حلقه هوشمند را به عنوان یک دستیار شخصی روی انگشت و همیشه قابل دسترس کاربران توصیف میکند. این دستیار هوشمند میتواند در کارهایی مانند تنظیم آلارم، ارسال پیام و حتی پیدا کردن شماره تلفن مورد نظر کمک کند.

در حالی که مشخص نیست که اپل چه برنامه زمانی برای توسعه و عرضه حلقه هوشمند خود دارد، اما این تحقیقات حاکی از آن است که غول کوپرتیونی در حال بررسی راههای جدید برای تعامل با فناوریهای گوناگون است.
نظر شما در رابطه با حلقه هوشمند اپل چیست؟ آیا این گجت پوشیدنی میتواند به عنوان یک رقیب برای Galaxy Ring از راه برسد؟
 
             
				


![گجت هوشمند Prolo Ring، انگشت شما را به یک ماوس قدرتمند و همهکاره تبدیل میکند [تماشا کنید] معرفی گجت ماوس Prolo Ring](/fa/modules/mod_raxo_related_articles/tools/tb.php?src=%2Ffa%2Fimages%2F1404%2F07%2F07%2FP3%2FProlo-Ring-1.jpg&w=380&h=213&zc=1)








نظر خود را اضافه کنید.
برای ارسال نظر وارد شوید
ارسال نظر بدون عضویت در سایت