سامسونگ پتنت جدیدی را برای توسعه گوشی هوشمندی به ثبت رسیده که در قالب یک پهپاد در مقابل کاربر ظاهر میشود. این گوشی هوشمند شخص را از در دست گرفتن موبایل بینیاز خواهد کرد.
در طرح جدیدی که از یک موبایل پهپاد توسط سامسونگ به ثبت رسیده، جذابترین نکته آن است که محصول نهایی این طرح امکان تشخیص انواع و اقسام اطلاعات نظیر وضعیت بدنی کاربر، حالت چهره و حتی چشمان کاربر را خواهد داشت. به این ترتیب، بسته به حالت چهره و چشمان کاربر، وضعیت و مسیر حرکتی گوشی پهپاد تغییر خواهد کرد تا در زاویه و شرایط مناسب، هر لحظه مقابل چشمان کاربر باشد.
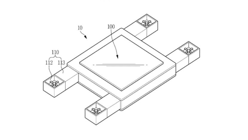
این دستگاه هوشمند توسط پهپاد حمل خواهد شد و از سیستم تشخیص صدا و هشدارهای لرزشی بهره میبرد. سنسور ژیروسکوپ، شتابسنج و واحد تشخیص موانع در کنار سنسور حرکتی از دیگر قابلیتهای این محصول به حساب میآیند.
مطمئنا این طرح، برای کاربرانی که روزانه چندین ساعت به استفاده از گوشیهای هوشمند یا دیگر دستگاههای الکترونیکی مشغول هستند، مفید فایده و کاربردی خواهد بود. محصول نهایی طرح، علاوه بر کاهش اعتیاد به گوشیهای هوشمند میتواند وضعیت ایستادن یا نشستن کاربر را در استفاده از دستگاههای الکترونیکی بهبود بخشیده و به نوعی سلامت کاربر را در استفاده از گجتهای الکترونیکی ارتقا دهد.
سامسونگ اخیراً مجموعه متنوعی از طرحها را برای بهبود نحوه استفاده کاربران از گوشیهای هوشمند به ثبت رسانده است. به عنوان نمونه، ماه گذشته طرحی به ثبت رسید که یک گوشی هوشمند انعطاف پذیر را در قالب تجهیز به سیستم لمس سهبعدی نشان میدهد. پتنت دیگری از متخصصان این شرکت، یک گوشی هوشمند مجهز به دو صفحهنمایش در طرفین گوشی را نشان میدهد.
البته درنظر داشته باشید که اینها همگی طرحهای اولیه و انتزاعی بوده و تجربه نشان داده تنها تعداد محدودی از این پتنتها به واقعیت مبدل شده و به مرحله تولید میرسند.













نظر خود را اضافه کنید.
برای ارسال نظر وارد شوید
ارسال نظر بدون عضویت در سایت