سامسونگ اخیراً بسیار پرکار شده و کار بر روی پروژههای مختلف را آغاز کرده است. یکی از این موارد که بهتازگی پتنت مرتبط با آن منتشر شده، ماسک هوشمند با قابلیت تصفیه هوا است. این دستگاه معرفی نشده به فیلترهای مختلف، سنسورهای پیشرفته، یک فن و یک پردازنده مجهز شده و قابلیت اتصال به گوشیهای هوشمند را دارد.
تا به امروز ابزارها و گجتهای گوناگون زیادی معرفی شدهاند که هر یک بر بهبود یکی از جنبههای زندگی روزمره ما تمرکز داشتهاند، از کوله پشتی هوشمند مایکروسافت تا ابزارهای مختلف مبتنی بر هوش مصنوعی.

حالا سامسونگ نیز به این بخش وارد شده و از یک ماسک الکترونیکی جدید رونمایی کرده است که مجهر به تراشههای داخلی بوده و به شما کمک میکند هوای پاکتری تنفس کنید.
ماسک هوشمند سامسونگ به تنفس هوای پاک کمک میکند
طبق یک سند 32 صفحهای، این ماسک الکترونیکی سامسونگ از طریق یک اپلیکیشن موبایلی کنترل شده و میتواند اطلاعات جالبی مانند کیفیت فیلتر مصرفی در لحظه، وضعیت باتری، سرعت چرخش فن، مدت زمانی که از ماسک استفاده کردهاید، میزان هوای پاکی که توسط کاربر دریافت شده و مواردی از این دست را ارائه دهد.

نکته جالب آن است که در سند مذکور که احتمالاً اسناد مربوط به حق ثبت اختراع این محصول توسط سامسونگ هستند، تصاویری از اپلیکیشن مرتبط با آن نیز به چشم میخورد.
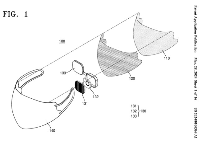
گرچه ساخت چنین دستگاهی کمی پیچیده به نظر میرسد، اما طرح کلی محصول سامسونگ ساده بوده و تنها چند فیلتر مانند MA-80، MA-60 یا MA-94 را شامل میشود که وظیفه تمیز کردن هوای تنفسی کاربر را دارند.
به گزارش Mspoweruser، برای تشخیص میزان کثیفی این فیلترها نیز چند سنسور در گوشههای ماسک در نظر گرفته و در نهایت یک فن برای کمک به جریان هوا قرار گرفته است. در پایان، یک پردازنده بر اساس دادههای جمعآوری شده توسط حسگرها به طور خود برای ماسک تصمیمگیری میکند.

علاوه بر این، فیلترهای مورد استفاده در این ماسک هوشمند در لبههای خود نقاط یا خطوط خاصی را به همراه دارند که بسته به وضعیت لحظهای رنگهای متفاوتی همچون قرمز یا آبی را نمایش میدهند.
شایان ذکر است که سامسونگ پتنت مرتبط با این فناوری پوشیدنی را یک سال قبل به ثبت رسانده است، اما اداره ثبت اختراع و علائم تجاری ایالات متحده (USPTO) بهتازگی سند مذکور را منتشر کرده است.
در همین رابطه بخوانید:
- به زودی می توانید ماسک Razer RGB بخرید
- از ماسک N95 تا صندلی گیمینگ؛ ایده های بکر ریزر برای سال 2021
شایان ذکر است که با همهگیر شدن بیماری کرونا، شرکت Razer که در زمینه ساخت تجهیزات جانبی گیمینگ فعالیت دارد، از یک محصول مشابه رونمایی کرد. دستگاه ساخته شده توسط ریزر یک ماسک هوشمند شفاف بود که نورپردازی RGB به همراه داشت و پس از مدتی کوتاهی از صدر اخبار ناپدید شد.













نظر خود را اضافه کنید.
برای ارسال نظر وارد شوید
ارسال نظر بدون عضویت در سایت