تلاش برای حذف سیمهایی که باید به تلویزیونها متصل شوند هر چقدر هم هنرمندانه باشد باز منجر به حذف کاملاً نامرئی شدن آنها نمیشود. اما شاید این پایان کار باشد و شرکتهایی مانند سامسونگ به راهکاری عملی برسند که بتوان بدون استفاده از هنر و خلاقیت خاصی این سیمها را به صورت کامل حذف کرد.
سامسونگ به تازگی پتنتی را به ثبت رسانده که یک هدف ساده را دنبال میکند؛ حذف کامل سیمهای متصل به تلویزیون و به عبارتی ساخت تلویزیون بدون اتصال سیمی.
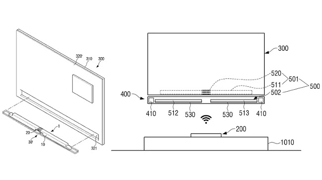
به صورت کلی سه دسته سیم به تلویزیونها متصل میشوند؛ دسته اول کابل برق است که برای انتقال انرژی الکتریکی به دستگاه مورد استفاده قرار میگیرد. دسته دوم کابلهای مربوط به دستگاههای صوتی و تصویری جانبی است که میتوانند مکمل مالتیمدیای دستگاه باشند. دسته سوم نیز کابلهای مربوط به آنتن و دریافت سیگنالهای جانبی هستند که سیگنالهای تلویزیونی تقویت شده را از گیرندههای آنتن و بوستر دریافت میکنند.
پتنت جدید سامسونگ قصد دارد هر سه این دست کابلها را به صورت کامل حذف کرده و به صورت داخلی و یا ارتباط بیسیم، بهترین جایگزین را برای آنها ارائه دهد.

در پتنت ثبت شده برای انتقال توان از فناوری مشابه شارژ بیسیم در گوشیهای هوشمند ولی با تفاوت بارزِ افزایش فاصله شارژر تا دستگاه استفاده خواهد شد. این فناوری میتواند شارژر را در مکانی با فاصله تا سه متری دستگاه قرار دهد و به این ترتیب تلویزیون دیگر نیاز نخواهد داشت که به کابل برق و سپس پریز برق منزل متصل شود. در این مرحله شارژر تلویزیون یا همان انتقال دهنده انرژی میتواند دستگاهی مانند ساندبار باشد که در زیر تلویزیون وصل شده روی دیوار قرار گرفته و علاوه بر انتقال انرژی الکتریکی، دریافت سیگنالهای صوتی را نیز بر عهده داشته و به این ترتیب، دومنظور عمل خواهد کرد.

مورد سوم نیز راحتترین کار برای سامسونگ است و با تعبیه و طراحی آنتنهای داخلی در داخل تلویزیون و تقویت سیگنالهای دریافتی در همانجا، دستگاه را از اتصال به یک آنتن جداگانه نیز مستقل خواهد کرد. البته در این مورد، همان دستگاه ساندبار مانندی که در مرحله قبل در مورد آن صحبت کردیم نیز میتواند چنین کاری انجام داده و پس از دریافت و تقویت سیگنالهای تلویزیونی، آنها را با استفاده از فناوری استریم وایرلس مناسبی که برای آن در نظر گرفته شده به تلویزیون انتقال دهد.

سامسونگ هنوز در مورد انتشار این خبر واکنشی نشان نداده است ولی مسلماً چنین ایدهای میتواند بسیار جذاب بوده و با گسترش آن در آینده نزدیک مشتریان بسیار زیادی را به سمت خود جذب کند.













نظر خود را اضافه کنید.
برای ارسال نظر وارد شوید
ارسال نظر بدون عضویت در سایت