قلم S Pen یکی از محبوب‌ترین ملحقات گوشی‌های هوشمند طی سالیان اخیر و به عقیده بسیاری از کاربران، عامل اصلی فروش زیاد سری نوت سامسونگ بوده است. اما خبرهای جدید حاکی از آنند که سامسونگ قصد دارد این قلم را به قابلیت‌های جذاب دیگری مانند دوربینی با زوم اپتیکال همراه کند.

سامسونگ طی سالیان عرضه سری نوت همواره سعی در بهبود کاربرد و کارکرد قلم این دستگاه داشته است و هر ساله ویژگی‌هایی هر چند کوچک ولی مناسب و لازم را به آن اضافه کرده است.

در آخرین بروزرسانی با عرضه گلکسی نوت 9 سامسونگ این قلم را به قابلیت استفاده از بلوتوث و همچنین شارژ سریع زیر یک دقیقه برای کار تا نیم ساعت مجهز کرد که نشان از پیشرفت بسیار بالای سامسونگ در مجتمع سازی قطعات در فضای بسیار محدود بدنه قلم است.

spen-patenet.jpg

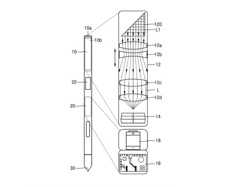
اما همانطور که گفتیم ایده‌های سامسونگ در مورد توسعه این قلم به همینجا ختم نمی‌شود و این شرکت قصد دارد تا قابلیت‌های جدیدی را به آن اضافه کند. یکی از این قابلیت‌ها که چندی پیش در سازمان ثبت مالکیت معنوی و پتنت ایالات متحده نیز به ثبت رسیده جای دادن دوربین داخل قلم است به نحوی که بتوان با آن حتی به قابلیت زوم اپتیکال نیز دست یافت.

تصویری که از این پتنت منتشر شده و اطلاعاتی که در مورد آن ذکر شده توضیحات زیادی را در مورد این ایده مطرح نمی‌کنند ولی مسلماً جای دادن دوربین داخل بدنه قلم می‌تواند بسیار جذاب و کاربردی باشد. برای مثال شما می‌توانید بدون اینکه گوشی را در دست داشته باشید تنها با استفاده از قلم عملیات عکسبرداری از سوژه‌های مختلف را صورت دهید. در این حالت سوژه‌های شما می‌توانند حالت‌های بسیار بیشتری داشته باشند و آزادی عمل بسیار بیشتری در پیاده سازی حالت‌های ویژه عکسبرداری در دسترس شما خواهند بود.

تئوری دومی که می‌توان پشت ایده سامسونگ برای جای دادن دوربین در بدنه قلم (نه لزوماً وسط آن) باشد این است که سامسونگ قصد دارد راهکاری جدید برای خلاص شدن از دست حفره دوربین در نمایشگرهای جدید ایجاد کند. البته این راهکار بسیار چالش‌برانگیز است و بعید به نظر می‌رسد کره‌ای‌های بازار آن را با آزمون‌های لازم در دستگاه‌های خود جای دهند.

به هر حال این ایده جذاب به صورت رسمی ثبت شده و باید منتظر باشیم تا به صورت عملی نیز پیاده شود. در صورت تصمیم سامسونگ به پیاده‌سازی آن شاید نوت 10 اولین دستگاهی باشد که به آن مجهز می‌شود و در آن زمان بیشتر می‌توانیم در مورد این قابلیت جذاب با هم صحبت کنیم.

نظر خود را اضافه کنید.

ارسال نظر بدون عضویت در سایت

0
نظر شما پس از تایید مدیر منتشر خواهد شد.
  • هیچ نظری یافت نشد

ورود به شهرسخت‌افزار

ثبت نام در شهر سخت افزار
ورود به شهر سخت افزار

ثبت نام در شهر سخت افزار

نام و نام خانوادگی(*)
لطفا نام خود را وارد کنید

ایمیل(*)
لطفا ایمیل خود را به درستی وارد کنید

رمز عبور(*)
لطفا رمز عبور خود را وارد کنید

شماره موبایل
Invalid Input

جزو کدام دسته از اشخاص هستید؟(*)

لطفا یکی از موارد را انتخاب کنید